Linia ważenia i załadunku wsadu
 - piec wapienny ze skipem

Powrót
 

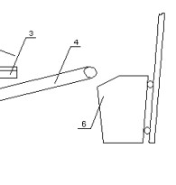
Oznaczenia:
1. Podajnik wibracyjny wsadu do wag z odsiewaniem
2. Wagi tensometryczne
3. Podajniki wibracyjne wsadu na taśmę
4. Taśma załadunku wózka
5. Obrotnica wózka
6. Skip
7. Taśmociągi odsiewek
8. Rynny odsiewek